近日,重庆市綦江区打通镇与上海源信达生态科技有限公司举行500万羽蛋鸡产业链项目(一期)战略合作签约仪式。

图片来源:微打通微信公众号
作为打通镇重点招商引资项目,此次签约的500万羽蛋鸡产业链项目(一期)总投资超5亿元,规划占地面积200余亩。
项目深度锚定蛋鸡规模化养殖产业发展核心需求,既充分依托打通镇生态环境优良、水源洁净充足的天然禀赋,又精准对接农业基础深厚、劳动力资源富集的产业优势,为项目高质量落地筑牢坚实根基。
项目将重点建设标准化智能鸡舍,配套引进自动喂料、智能温控、精准通风、自动集蛋等现代化设备,构建养殖全流程数字化管控体系,预计建成后年存栏蛋鸡100万羽,年产值可达1.4亿元。
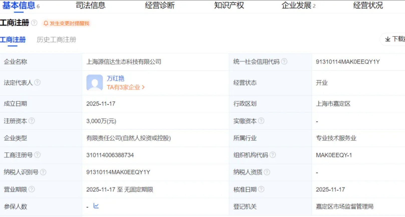
关于上海源信达
上海源信达生态科技有限公司成立于2025年11月17日,注册资本3000万元,法定代表人为万红艳。

经营范围包括一般项目:技术服务、技术开发、技术咨询、技术交流、技术转让、技术推广;人工造林;树木种植经营;木材销售;纸浆销售;纸制品销售;软木制品销售;日用木制品销售;竹制品销售;新鲜水果批发;新鲜蔬菜批发;林业产品销售;食用农产品批发;水产品批发;畜牧渔业饲料销售;肥料销售;生物质燃料销售(不含危险化学品);城市绿化管理;森林改培;森林经营和管护;旅游开发项目策划咨询;电子产品销售;货物进出口;进出口代理;健康咨询服务(不含诊疗服务);信息咨询服务(不含许可类信息咨询服务);生态资源监测;土壤污染治理与修复服务;节能管理服务;高效节能技术装备销售;五金产品批发;化工产品销售(不含许可类化工产品);非金属矿及制品销售;煤炭及制品销售;市场营销策划;组织文化艺术交流活动。
一周阅读排行